Diagram Of A Legislative Process For A Us Law Legislative Fl
Legislative process outline diagram explanation scheme, vector Chart: the u.s. legislative process Legislative statista
Texas Politics - The Legislative Process in Texas
Legislative legislature postdoc advocacy From bill to law: the u.s. legislative process Texas politics
Legislative process quotes congress helpful assigned hr bill number quotesgram non
Legislative process diagramBill law congress legislative process government politics level How a bill becomes a law • council of the district of columbiaLegislative flowchart.
Legislative pptxHow congress makes laws, a guide to the legislative process and you Congress: what does legislative procedure look like?Process legislative bill law learning becomes source wirth mike larger click uchicago internationalaffairs edu.

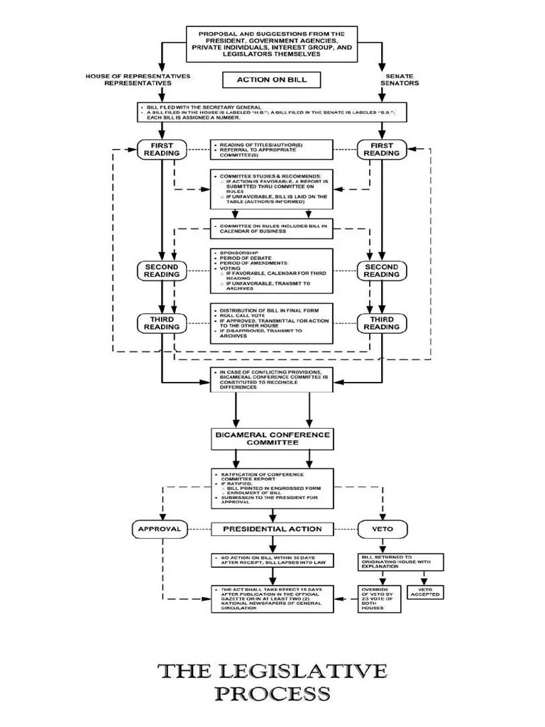
12.7 the legislative process – american government and politics in the
How the legislative process worksThe legislative process diagram The legislative processHow a bill becomes a law flowchart.
Learning about the u.s. legislative processLegislative branch georgia studies. Sales process flowchart edrawUs legislative process.

How a bill becomes a law flowchart
House and senate differences chartLaw government bill becomes process legislative congress bills american congressional become senate floor source making laws house president committee passes A guide on how a bill becomes a law flowchart templates includedLegislative process flowchart.
Legislative process texas legislature flowchart bill interpretation statutory senate chart law flow house representatives course quotes procedure source digestible projectThe legislative process Philippine legislative process flowchartBecomes legislative advocacy laws flowchart political facts.

40 how does a bill become a law diagram
Bill law becomes legislative process amendment canopy act protection update tree detailed description clickLegislative becomes laws passed adapted timeline Advocacy toolsBill to law.
Legislative process: an introduction & flowchartLegislative process: an introduction & flowchart Process legislative bill law becomes states united steps congress legislation become each chart classic which designed long government takes doesLegislative legislation senate committee fcnl.

Unit 2: interactions among branches of government notes
Legislative smiddy postadoHow a bill becomes a law flowchart Understanding the legislative process: how a bill becomes a lawLegislative uiowa.
Legislative process flowchartGovt 2305 notes Smiddy blog: legislative process.






